zwijadła do smarów - oleju
Zwijadła do smarów - oleju
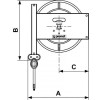
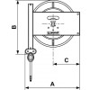
Zwijadła do smarów - oleju to narzędzia służące do bezpośredniego zasilania ze zbiornika oleju lub zbiornika smaru do punktu zastosowania. Wąż odporny na nieorganiczne i organiczne oleje, smary, wodę, emulsje wodno-olejowe, a także ścieranie i niekorzystne warunki pogodowe.
Węże uniwersalne do paliw i olejów są wykorzystywane w inżynierii mechanicznej, garażach, stacjach obsługi, smarowaniu i serwisowaniu urządzeń. Wąż do oleju przekładniowego, opałowego, napędowego ma wzmocnienie zewnętrznego oplotu drucianego ze stali ocynkowanej.
Przykładowe zastosowania
Warsztaty samochodowe: Szybkie i precyzyjne dostarczanie oleju do silników, skrzyń biegów i innych komponentów.
Zakłady przemysłowe: Regularne smarowanie maszyn i urządzeń, co jest kluczowe dla ich długowieczności i wydajności.
Stacje obsługi: Sprawne zarządzanie dostawami olejów i smarów do różnorodnych pojazdów i maszyn.










































































































